Product Summary
The LD2981CM30TR is a 100mA fixed-output voltage regulator. The low drop-voltage and the ultra low quiescent current make it suitable for low noise, low power applications and in battery powered systems.
Parametrics
LD2981CM30TR absolute maximum ratings: (1)DC Input Voltage: -0.3 to 16 V; (2)INHIBIT Input Voltage: -0.3 to 16 V; (3)Output Current: Internally limited; (4)Power Dissipation: Internally limited; (5)Storage Temperature Range: -55 to 150 ℃; (6)Operating Junction Temperature Range: -40 to 125 ℃.
Features
LD2981CM30TR features: (1)stable with low ESR ceramic capacitors; (2)ultra low dropout voltage (0.17V TYP. AT 100mA LOAD, 7mV TYP. AT 1mA LOAD); (3)very low quiescent current (80μA TYP. AT NO LOAD IN ON MODE; MAX 1μA IN OFF MODE); (4)guaranteed output current up to 100mA; (5)logic-controlled electronic shutdown.
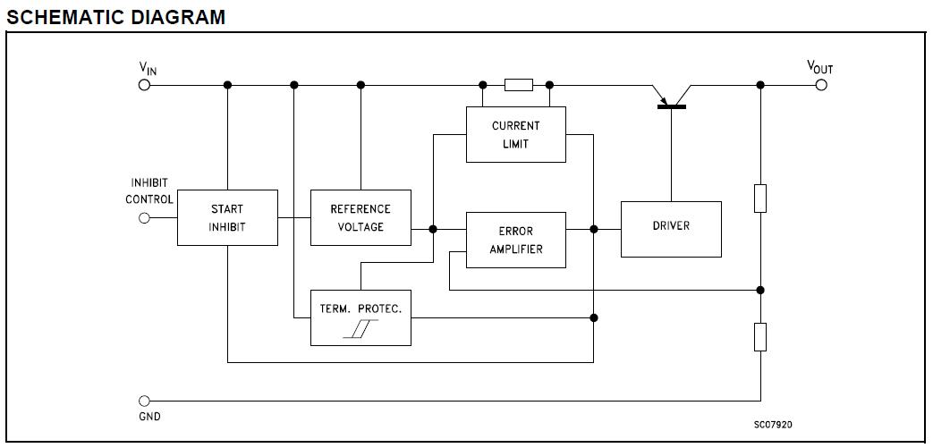
Diagrams

| Image | Part No | Mfg | Description | ![]() |
Pricing (USD) |
Quantity | ||||||||||||
|---|---|---|---|---|---|---|---|---|---|---|---|---|---|---|---|---|---|---|
![]() |
![]() LD2981CM30TR |
![]() STMicroelectronics |
![]() Low Dropout (LDO) Regulators 3.0V 100mA Positive |
![]() Data Sheet |
![]() Negotiable |
|
||||||||||||
| Image | Part No | Mfg | Description | ![]() |
Pricing (USD) |
Quantity | ||||||||||||
![]() |
![]() LD29080 |
![]() Other |
![]() |
![]() Data Sheet |
![]() Negotiable |
|
||||||||||||
![]() |
![]() LD29080DT15R |
![]() STMicroelectronics |
![]() Low Dropout (LDO) Regulators 800mA Fixed Adjust output very Lo drop |
![]() Data Sheet |
![]()
|
|
||||||||||||
![]() |
![]() LD29080DT18R |
![]() STMicroelectronics |
![]() Low Dropout (LDO) Regulators 800mA Fixed Adj Low Volt Reg |
![]() Data Sheet |
![]()
|
|
||||||||||||
![]() |
![]() LD29080DT25R |
![]() STMicroelectronics |
![]() Low Dropout (LDO) Regulators 2.5 Volt 800mA |
![]() Data Sheet |
![]()
|
|
||||||||||||
![]() |
![]() LD29080DT33R |
![]() STMicroelectronics |
![]() Low Dropout (LDO) Regulators 3.3 Volt 800mA |
![]() Data Sheet |
![]()
|
|
||||||||||||
![]() |
![]() LD29080DT50R |
![]() STMicroelectronics |
![]() Low Dropout (LDO) Regulators 800mA Fixed Adjust output very Lo drop |
![]() Data Sheet |
![]()
|
|
||||||||||||
(China (Mainland))










