Product Summary
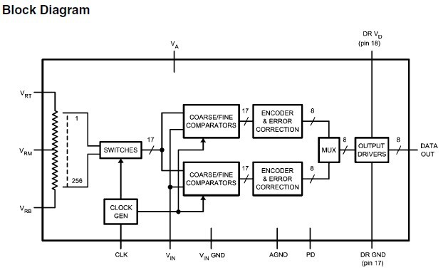
The ADC08060CIMT is a low-power, 8-bit, monolithic analog-todigital converter with an on-chip track-and-hold circuit. Optimized for low cost, low power, small size and ease of use, this ADC08060CIMT operates at conversion rates of 20 MSPS to 70 MSPS with outstanding dynamic performance over its full operating range while consuming just 1.3 mW per MHz of clock frequency. The ADC08060CIMT is just 78 mW of power at 60 MSPS. Raising the PD pin puts the ADC08060CIMT into a Power Down mode where it consumes just 1 mW.
Parametrics
ADC08060CIMT absolute maximum ratings: (1)Resolution: 8 bits; (2)Maximum sampling frequency: 60 MSPS (min); (3)DNL: 0.4 LSB (typ); (4)ENOB: 7.5 bits (typ) at fIN = 25 MHz; (5)THD: 60 dB (typ); (6)No missing codes Guaranteed; (7)Power Consumption of Operating: 1.3 mW/MSPS (typ); (8)Power Consumption of Power Down Mode: 1 mW (typ).
Features
ADC08060CIMT features: (1)Single-ended input; (2)Internal sample-and-hold function; (3)Low voltage (single +3V) operation; (4)Small package; (5)Power-down feature.
Diagrams

| Image | Part No | Mfg | Description | ![]() |
Pricing (USD) |
Quantity | ||||||||||||
|---|---|---|---|---|---|---|---|---|---|---|---|---|---|---|---|---|---|---|
![]() |
![]() ADC08060CIMT |
![]() National Semiconductor (TI) |
![]() ADC (A/D Converters) |
![]() Data Sheet |
![]()
|
|
||||||||||||
![]() |
![]() ADC08060CIMT/NOPB |
![]() National Semiconductor (TI) |
![]() ADC (A/D Converters) |
![]() Data Sheet |
![]()
|
|
||||||||||||
![]() |
![]() ADC08060CIMTX/NOPB |
![]() National Semiconductor (TI) |
![]() ADC (A/D Converters) |
![]() Data Sheet |
![]()
|
|
||||||||||||
![]() |
![]() ADC08060CIMTX |
![]() National Semiconductor (TI) |
![]() ADC (A/D Converters) |
![]() Data Sheet |
![]()
|
|
||||||||||||
(China (Mainland))










