Product Summary
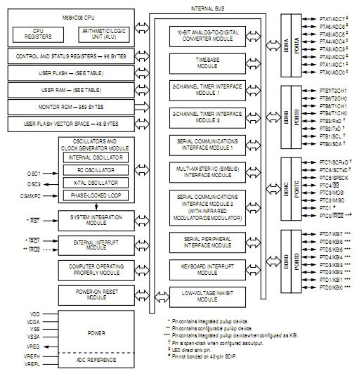
The MC68HC908AP64CFB is a Microcontroller. It is a member of the low-cost, high-performance M68HC08 Family of 8-bit microcontroller units (MCUs). The MC68HC908AP64CFB uses the enhanced M68HC08 central processor unit(CPU08) and is available with a variety of modules, memory sizes and types, and package types.
Parametrics
MC68HC908AP64CFB absolute maximum ratings: (1)Supply voltage:–0.3 to +6.0V; (2)Input voltage: All pins (except IRQ1): VSS–0.3V to VDD +0.3V, IRQ1 pin:VSS–0.3V to 8.5V; (3)Maximum current per pin excluding VDD and VSS:±25 mA; (4)Maximum current out of VSS:100 mA; (5)Maximum current into VDD:100 mA; (6)Storage temperature:–55℃ to +150℃.
Features
MC68HC908AP64CFB features: (1)High-performance M68HC08 architecture; (2)Fully upward-compatible object code with M6805, M146805, and M68HC05 Families Maximum internal bus frequency: 8-MHz at 5V or 3V operating voltage; (3)Clock input options:RC-oscillator, 32-kHz crystal-oscillator with 32MHz internal PLL; (4)Timebase module; (5)Serial communications interface module 1 (SCI); (6)Serial communications interface module 2 (SCI) with infrared (IR) encoder/decoder; (7)Serial peripheral interface module (SPI); (8)System management bus (SMBus), version 1.0/1.1 (multi-master IIC bus); (9)8-channel, 10-bit analog-to-digital converter (ADC); (10)IRQ1 external interrupt pin with integrated pullup; (11)IRQ2 external interrupt pin with programmable pullup; (12)8-bit keyboard wakeup port with integrated pullup; (13)Low-power design (fully static with stop and wait modes); (14)Master reset pin (with integrated pullup) and power-on reset; (15)Optional computer operating properly (COP) reset, driven by internal RC oscillator; (16)Low-voltage detection with optional reset or interrupt; (17)Illegal opcode detection with reset; (18)Illegal address detection with reset.
Diagrams

![]() |
![]() MC6800 |
![]() Other |
![]() |
![]() Data Sheet |
![]() Negotiable |
|
||||
![]() |
![]() MC6801 |
![]() Other |
![]() |
![]() Data Sheet |
![]() Negotiable |
|
||||
![]() |
![]() MC68020 |
![]() Other |
![]() |
![]() Data Sheet |
![]() Negotiable |
|
||||
![]() |
![]() MC68020CEH16E |
![]() Freescale Semiconductor |
![]() Microprocessors (MPU) 32-BIT MPU |
![]() Data Sheet |
![]() Negotiable |
|
||||
![]() |
![]() MC68020CEH25E |
![]() Freescale Semiconductor |
![]() Microprocessors (MPU) 32-BIT MPU |
![]() Data Sheet |
![]() Negotiable |
|
||||
![]() |
![]() MC68020CRC16E |
![]() Freescale Semiconductor |
![]() Microprocessors (MPU) 32-BIT MPU |
![]() Data Sheet |
![]() Negotiable |
|
||||
(China (Mainland))









