Product Summary
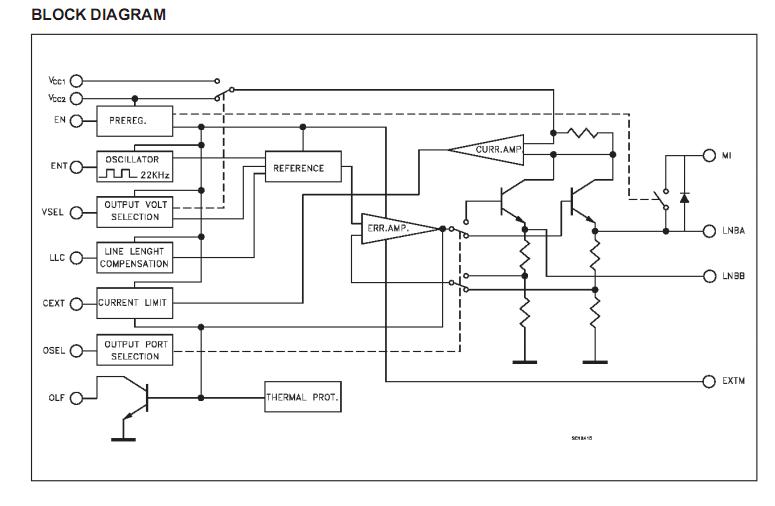
Intended for analog and digital satellite receivers, the LNBP20PD is a monolithic linear voltage regulator, assembled in Multiwatt-15, PowerSO-20 and PowerSO-10. The LNBP20PD is specifically designed to provide the powering voltages and the interfacing signals to the LNB downconverter situated in the antenna via the coaxial cable. The LNBP20PD is possible to increment by 1V (typ.) the selected voltage value to compensate the excess voltage drop along the coaxial cable (LLC pin HIGH).
Parametrics
LNBP20PD absolute maximum ratings: (1)Vi DC Input Voltage (VCC1, VCC2, MI): 28 V; (2)Io Output Current (LNBA, LNBB): Internally limited; (3)Vi Logic Input Voltage (ENT, EN, OSEL, VSEL, LLC): -0.5 to 7 V; (4)ISW Bypass Switch Current: 900 mA; (5)Ptot Power Dissipation at Tcase < 85℃ 14 W; (6)Tstg Storage Temperature Range: - 40 to 150℃; (7)Top Operating Junction Temperature Range: - 40 to 125℃.
Features
LNBP20PD features: (1)Complete interface for two lnbs remote supply and control; (2)LNB selection and stand-by function; (3)Built-in tone oscillator factory trimmed at 22KHz; (4)Two supply inputs for lowest dissipation; (5)By pass function for slave operation; (6)LNB short circuit protection and diagnostic; (7)Auxiliary modulation input extends flexibility; (8)Cable length compensation; (9)Internal over temperature protection; (10)Backward current protection.
Diagrams

| Image | Part No | Mfg | Description | ![]() |
Pricing (USD) |
Quantity | ||||||||||||
|---|---|---|---|---|---|---|---|---|---|---|---|---|---|---|---|---|---|---|
![]() |
![]() LNBP20PD |
![]() STMicroelectronics |
![]() Linear Regulators - Standard LNBP Supply/Control |
![]() Data Sheet |
![]() Negotiable |
|
||||||||||||
![]() |
![]() LNBP20PD-TR |
![]() STMicroelectronics |
![]() Linear Regulators - Standard LNBP Supply/Control |
![]() Data Sheet |
![]()
|
|
||||||||||||
(China (Mainland))









