Product Summary
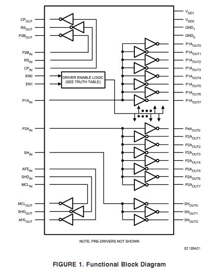
The LM98555CCMH is a highly integrated driver circuit intended for CCD driving applications. The LM98555CCMH combines 25 drivers of varying drive strengths into one chip to provide a complete CCD driving solution. Due to this one-chip integration, optimal skew control is achieved for this demanding application.
Parametrics
LM98555CCMH absolute maximum ratings: (1)Supply Voltage:-0.5V to 6.2V; (2)Package Power Rating at 25℃:2.0 Watts; (3)Voltage on Any Input or Output Pin:-0.5V to VDD+0.5V; (4)DC Input Current at Any Pin:25 mA; (5)DC Package Input Current:50 mA; (6)Storage Temperature:-65℃ to +150℃; (7)Lead temperature (Soldering, 10 sec.):300℃; (8)ESD Susceptibility: Human Body Model:2000V, Machine Model:200V.
Features
LM98555CCMH features: (1)All CCD drivers integrated into one package; (2)High strength drivers designed specifically for CCD loads; (3)Ability to scale clock driver strength; (4)Skew specifications guaranteed; (5)Separate input and output power supplies; (6)CMOS process technology; (7)64-pin TSSOP package with extended power handling capability.
Diagrams

| Image | Part No | Mfg | Description | ![]() |
Pricing (USD) |
Quantity | ||||||||||||
|---|---|---|---|---|---|---|---|---|---|---|---|---|---|---|---|---|---|---|
![]() |
![]() LM98555CCMH |
![]() National Semiconductor (TI) |
![]() Display Drivers & Controllers |
![]() Data Sheet |
![]()
|
|
||||||||||||
![]() |
![]() LM98555CCMH/NOPB |
![]() National Semiconductor (TI) |
![]() Display Drivers & Controllers |
![]() Data Sheet |
![]()
|
|
||||||||||||
![]() |
![]() LM98555CCMHX/NOPB |
![]() National Semiconductor (TI) |
![]() Display Drivers & Controllers |
![]() Data Sheet |
![]()
|
|
||||||||||||
![]() |
![]() LM98555CCMHX |
![]() National Semiconductor (TI) |
![]() Display Drivers & Controllers |
![]() Data Sheet |
![]()
|
|
||||||||||||
(China (Mainland))










