Product Summary
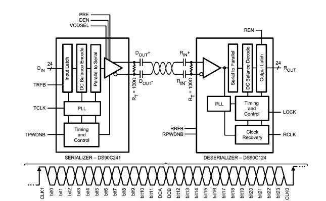
The DS90C124QVS is a DC-Balanced 24-Bit LVDS Deserializer. The DS90C124QVS incorporates LVDS signaling on the high-speed I/O. LVDS provides a low power and low noise environment for reliably transferring data over a serial transmission path. In addition the DS90C124QVS features pre-emphasis to boost signals over longer distances using lossy cables. Internal DC balanced encoding/decoding is used to support AC-Coupled interconnects.
Parametrics
DS90C124QVS absolute maximum ratings: (1)Supply Voltage (VCC):-0.3V to +4V; (2)LVCMOS/LVTTL Input Voltage:-0.3V to (VCC +0.3V); (3)LVCMOS/LVTTL Output Voltage:-0.3V to (VCC +0.3V); (4)LVDS Receiver Input Voltage:-0.3V to 3.9V; (5)LVDS Driver Output Voltage:-0.3V to 3.9V; (6)LVDS Output Short Circuit Duration:10 ms; (7)Junction Temperature:+150℃; (8)Storage Temperature:-65℃ to +150℃; (9)Lead Temperature(Soldering, 4 seconds):+260℃.
Features
DS90C124QVS features: (1)User selectable clock edge for parallel data on both Transmitter and Receiver; (2)Internal DC Balancing encode/decode – Supports AC-coupling interface with no external coding required; (3)Individual power-down controls for both Transmitter and Receiver; (4)Embedded clock CDR (clock and data recovery) on Receiver and no external source of reference clock needed; (5)All codes RDL (random data lock) to support live-pluggable applications; (6)LOCK output flag to ensure data integrity at Receiver side; (7)Balanced TSETUP/THOLD between RCLK and RDATA on Receiver side; (8)PTO (progressive turn-on) LVCMOS outputs to reduce EMI and minimize SSO effects; (9)All LVCMOS inputs and control pins have internal pulldown; (10)On-chip filters for PLLs on Transmitter and Receiver; (11)Temperature range –40℃ to +105℃; (12)Greater than 8 kV HBM ESD tolerant; (13)Meets AEC-Q100 compliance; (14)Power supply range 3.3V ± 10%; (15)48-pin TQFP package.
Diagrams

| Image | Part No | Mfg | Description | ![]() |
Pricing (USD) |
Quantity | ||||||||||||
|---|---|---|---|---|---|---|---|---|---|---|---|---|---|---|---|---|---|---|
![]() |
![]() DS90C124QVS/NOPB |
![]() National Semiconductor (TI) |
![]() LVDS Interface IC |
![]() Data Sheet |
![]()
|
|
||||||||||||
![]() |
![]() DS90C124QVSX/NOPB |
![]() National Semiconductor (TI) |
![]() LVDS Interface IC |
![]() Data Sheet |
![]()
|
|
||||||||||||
(China (Mainland))









